國微主站欄目常用功能
欄目管理涉及的功能比較豐富,可以達到各種效果;比如
進入主站欄目管理
A:先登錄后臺------點擊“欄目管理”------就可以進行欄目管理了;

B:欄目管理的基礎按鈕認識:
優先靜態預覽:欄目靜態化后,可以點擊預覽靜態地址; 優先動態預覽:靜態下,如果要查看動態地址,點擊此處;
手機版預覽:在電腦上查看手機版欄目預覽; 添加欄目:快捷添加欄目
添加內容:在此欄目下添加內容(一般會員中心添加); 欄目標簽:點擊此處,可以進入此欄目的標簽可視化狀態
內頁標簽:點擊此處,可以進入內頁可視化標簽狀態; 欄目合并:將此欄目合并到其他欄目
欄目克隆:創建一個一模一樣的欄目或整個大分類 欄目回收箱:類似刪除功能,只是刪除 的欄目可以恢復

C:底部的批量操作按鈕:

常用功能操作如下
一、欄目收縮的展開操作
有時候如果要展開欄目操作,點擊上述的加號按鈕;點擊頂部的是全部展開

二、欄目排序操作
可以批量對欄目進行排序,數字大的排在前面;(根據類型字段,可以看到它是屬于大分類,還是欄目)
大分類排序:大分類和大分類的數字比;大的在前面。
欄目排序:同屬一個大分類的小欄目,也是欄目和欄目數字比。和其他大分類的欄目數字大小無關。

設置后,在欄目管理底部可以點擊進行排序:

三、更新欄目緩存
如果欄目預覽和數據展示有異常,可以考慮更新下欄目緩存。(不需要勾選欄目的)

四、重新統計欄目內容數
當前臺內容數量顯示不正確的時候,就點擊重新統計欄目內容數。(不需要勾選欄目的)

五、欄目預覽:PC動態預覽 / 靜態預覽 / 移動版預覽
我們需要各種狀態的預覽;一方面獲得效果查看,還有一種是獲得地址。
PC靜態預覽: 如果欄目設置了靜態,此按鈕優先預覽靜態;格式比如:域名/html/1285/ ; 如果沒有靜態,打開此按鈕是動態地址。
PC動態備用預覽地址:如果網站靜態化了,我們需要查看動態效果的時候,就點擊此處。
移動版預覽:如果要查看移動版的欄目預覽,點擊此處(它是動態地址)。

六、欄目上添加子欄目
點擊”添加欄目”的加號按鈕------進入欄目添加狀態;
如果需要再后臺添加子欄目,點擊此處,這里添加欄目有個好處就是,不用再選擇欄目歸屬和模型,節省時間。

七、欄目上添加內容
如果需要再后臺添加內容的時候,點擊此處(一般我們發布內容和修改內容,都是會員中心)

八、進入欄目/內頁標簽狀態 按鈕
如果我們需要進入該欄目的標簽狀態,進行圖片替換和標簽樣式替換,點擊此處。 內頁也是同樣效果。

效果如下:

九、欄目內容合并
將一個欄目的內容,合并到另外一個欄目;合并后,如果這個欄目不用了,可以刪除。

十、欄目克隆的操作
登陸后臺------進入欄目管理------點擊克隆按鈕-------選擇克隆欄目的歸屬-----點擊確定
克隆的欄目,和目標欄目一樣的模板等設置,所有參數都一模一樣。


備注:我們可以克隆一個欄目, 也可以克隆整個大分類(里面的子欄目也克隆了)
十一、修改編輯欄目
欄目是經常會修改的,對欄目名稱、模板選擇、IP限定、內容條數修改;

修改欄目可以很多項次:這個會有更詳細的教程

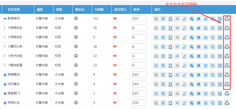
十二、欄目刪除
登陸后臺------進入欄目管理------點擊刪除欄目(欄目就進入了回收站,如果覺得是誤刪,可以恢復)
單個欄目刪除按鈕:

批量刪除欄目按鈕:
